شیر یکطرفه توپیچ با درپوش برنجی

تعریف و کاربرد
این شیر برای جلوگیری از برگشت آب به داخل لوله انشعاب و شبکه توزیع استفاده میشود. عملکرد شیر بر اساس تغییرات فشار آب در طرفین آن میباشد. چه بسا آب برگشتی به علت آلوده بودن، آب داخل شبکه شهر را نیز آلوده و باعث مشکلات بهداشتی شود و یا اینکه احتمالاً شیر یکطرفه آب گرم در تاسیسات داخلی شبکه به درستی عمل ننماید و به تبع آن، آب داغ وارد کنتور شده و باعث از کار افتادن آن گردد.
نامهای رایج
شیر یکطرفه دنده ساده / شیر خودکار دنده ساده / شیر یکطرفه دو سر ماده
محل نصب
داخل حوضچه کنتور و یا تابلو انشعاب بعد از کنتور و قبل از شیر فلکه
نکات کلیدی
هنگام نصب به جهت فلش حک شده روی بدنه دقت شود. شیر باید به صورت افقی نسبت به زمین نصب گردد.
دما و فشار کاری
دمای کاری: بین 2 تا 35 درجه سانتی گراد / فشار کاری: 10 اتمسفر (pn10)
شماره سریال
V-25322
جنس برنج
آببندی دریچهای
ورودی توپیچ
خروجی توپیچ

قطعات و جنس آنها | ||||
نام قطعه | جنس | استانداردASTM | استانداردEN | سیمبول |
| بدنه | برنج | ASTM B455/C38500 ASTM B455/C38000 | EN12164/CW614N EN12164/CW617N | CuZn39Pb3 CuZn38Pb2 |
| رقاصک/دریچه | ||||
| درپوش | ||||
| پیچ و پین | ||||

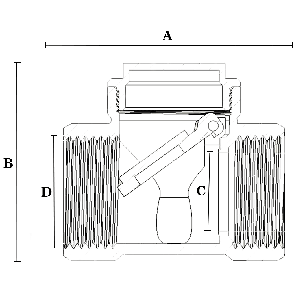
ابعاد بدنه | |||||
SizeInch | A(mm) | B(mm) | C(mm) | D(mm) | تعداد دنده بر اینچ |
| ½ | 50 | 41 | 13 | 19 | 14 |
| ¾ | 54 | 51 | 19 | 24 | 14 |
| 1 | 65 | 58 | 23 | 31 | 11 |